申請日2015.08.20
公開(公告)日2015.12.16
IPC分類號E03F5/22
摘要
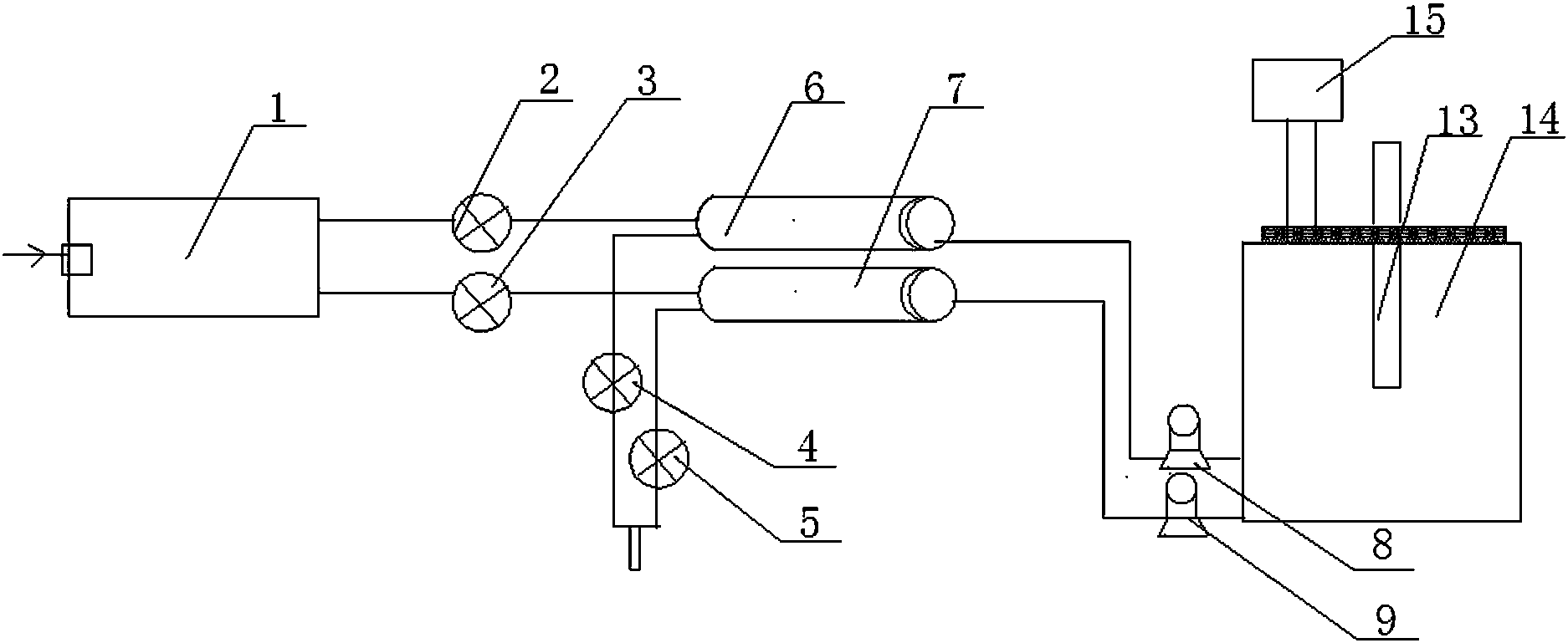
本實用新型公開了一種全自動智能污水提升裝置,油水分離器通過進水管路分別與第一進水管路止回閥、第二進水管路止回閥連接,第一進水管路止回閥與第一污物分離反沖裝置連接,第二進水管路止回閥與第二污物分離反沖裝置連接,第一污物分離反沖裝置、第二污物分離反沖裝置均與集水箱連接,集水箱上設有可編輯控制器、水位檢測器、與第一污物分離反沖裝置連通的第一潛水排污泵、與第二污物分離反沖裝置連通的第二潛水排污泵,第一污物分離反沖裝置還連接有第一強排管路止回閥,第二污物分離反沖裝置通過出水管路還連接有第二強排管路止回閥。本實用新型采用雙潛水排污泵,同時運行,互不影響工作,在排污同時可污水分離處理,極大提高處理效率。
權利要求書
1.一種全自動智能污水提升裝置,其特征在于:包括油水分離器(1)、第一進水管路止回閥(2)、第二進水管路止回閥(3)、第一污物分離反沖裝置(6)、第二污物分離反沖裝置(7)和集水箱(14),所述油水分離器(1)通過進水管路分別與第一進水管路止回閥(2)、第二進水管路止回閥(3)連接,第一進水管路止回閥(2)與第一污物分離反沖裝置(6)連接,第二進水管路止回閥(3)與第二污物分離反沖裝置(7)連接,第一污物分離反沖裝置(6)、第二污物分離反沖裝置(7)均與集水箱(14)連接,集水箱(14)上設有可編輯控制器(15)、水位檢測器(13)、與第一污物分離反沖裝置(6)所在管路連通的第一潛水排污泵(8)、與第二污物分離反沖裝置(7)所在管路連通的第二潛水排污泵(9),第一污物分離反沖裝置(6)通過出水管路還連接有第一強排管路止回閥(4),第二污物分離反沖裝置(7)通過出水管路還連接有第二強排管路止回閥(5)。
2.根據權利要求1所述的一種全自動智能污水提升裝置,其特征在于:所述水位檢測器(13)固定在集水箱(14)的上部,水位檢測器(13)的臂長不少于集水箱(14)長度的一半。
3.根據權利要求2所述的一種全自動智能污水提升裝置,其特征在于:所述油水分離器(1)包括分隔腔(10)、油水分離腔(11)、無油污水腔(12),所述分隔腔(10)與油水分離腔(11)之間設有過濾腔隔板(110),油水分離腔(11)與無油污水腔(12)之間設有分離器隔板(120)。
4.根據權利要求3所述的一種全自動智能污水提升裝置,其特征在于:所述油水分離器(1)上設有與分隔腔(10)連通的進口端(100),分隔腔(10)內設有濾網框(101)。
5.根據權利要求4所述的一種全自動智能污水提升裝置,其特征在于:所述濾網框(101)與油水分離器(1)的進口端連接。
6.根據權利要求4所述的一種全自動智能污水提升裝置,其特征在于:所述無油污水腔(12)內設有收油槽(122),收油槽(122)上安裝有放油閥(121)。
7.根據權利要求5所述的一種全自動智能污水提升裝置,其特征在于:位于進口端(100)的相對端上設有排水裝置(123)、排水閥(124)。
8.根據權利要求7所述的一種全自動智能污水提升裝置,其特征在于:所述集水箱(14)為不銹鋼箱體。
9.根據權利要求8所述的一種全自動智能污水提升裝置,其特征在于:所述集水箱(14)為全密封組合式拼裝結構。
10.根據權利要求9所述的一種全自動智能污水提升裝置,其特征在于:所述水位檢測器(13)為液位儀。
說明書
一種全自動智能污水提升裝置
技術領域
本實用屬于地鐵車站排水技術領域,尤其涉及是指一種全自動智能污水提升裝置。
背景技術
目前,有關地鐵地下污水處理工程沒有一個理想的排污裝置,以往采取的方式是將污水匯聚到一個地方,比如儲水池,在儲水池中設置兩臺水泵,這樣處理增加了使用成本,然而面對地鐵商鋪產生的污水、污物,如果采取統一處理,由于地鐵車站處于相對封閉的環境容易產生刺鼻的氣味,且現有的裝置,處理能力有限,無法將統一處理的污水、污物處理干凈,同時給環境帶來了重度污染。
基于此研究開發并設計了一種全自動智能污水提升裝置。
實用內容
本實用的目的在于:克服現有技術中的上述缺陷,提供一種全自動智能污水提升裝置,通過油水分離器的設置,能很好的處理地鐵商鋪所產生的污水,并將污水經過分離反沖裝置進行處理,能很好的降低污水中污泥,污物,提高處理效率,降低污水處理成本。
本實用通過下述技術方案實現的:一種全自動智能污水提升裝置,包括油水分離器、第一進水管路止回閥、第二進水管路止回閥、第一污物分離反沖裝置、第二污物分離反沖裝置和集水箱,所述油水分離器通過進水管路分別與第一進水管路止回閥、第二進水管路止回閥連接,第一進水管路止回閥與第一污物分離反沖裝置連接,第二進水管路止回閥與第二污物分離反沖裝置連接,第一污物分離反沖裝置、第二污物分離反沖裝置均與集水箱連接,集水箱上設有可編輯控制器、水位檢測器、與第一污物分離反沖裝置所在管路連通的第一潛水排污泵、與第二污物分離反沖裝置所在管路連通的第二潛水排污泵,第一污物分離反沖裝置通過出水管路還連接有第一強排管路止回閥,第二污物分離反沖裝置通過出水管路還連接有第二強排管路止回閥。
進一步地,為了更好的實現本實用新型,還包括以下技術特征,所述水位檢測器固定在集水箱的上部,水位檢測檢測器的臂長不少于集水箱長度的一半。
進一步地,為了更好的實現本實用新型,還包括以下技術特征,所述油水分離器包括分隔腔、油水分離腔、無油污水腔,所述分隔腔與油水分離腔之間設有過濾腔隔板,油水分離腔與無油污水腔之間設有分離器隔板。
進一步地,為了更好的實現本實用新型,還包括以下技術特征,所述油水分離器上設有與分隔腔連通的進口端,分隔腔內設有濾網框。
進一步地,為了更好的實現本實用新型,還包括以下技術特征,所述濾網框與油水分離器的進口端連接。
進一步地,為了更好的實現本實用新型,還包括以下技術特征,所述無油污水腔內設有收油槽,收油槽上安裝有放油閥。
進一步地,為了更好的實現本實用新型,還包括以下技術特征,所述位于進口端的相對端上設有排水裝置,排水閥。
進一步地,為了更好的實現本實用新型,還包括以下技術特征,所述集水箱為不銹鋼箱體。
進一步地,為了更好的實現本實用新型,還包括以下技術特征,所述集水箱為全密封組合式拼裝結構。
進一步地,為了更好的實現本實用新型,還包括以下技術特征,所述水位檢測器為液位儀。
本實用新型與現有技術相比,具有以下優點及有益效果:
(1)本實用新型通過油水分離器的設置能夠實現初步對地鐵商鋪產生的污水、污物進行分離,降低后續處理的工作量,同時對污物中的固液分離,油水分離,降低污水對處理裝置的污染。
(2)本實用新型采用雙潛水排污泵,同時運行,互不影響工作,在排污的同時可進行污水分離處理,極大的提高了處理效率。







