隨著各類服務性營業網點在各城鎮區域迅速建立,由此產生的各類污水排放也日漸增多,尤其是各類飲食場所的污水,因其含污量大,且在大多情況下排放條件較差,對環境造成的威脅已不容忽視。對這類污水在排放前進行預處理已成為一項較為緊迫的課題。
1 污水的排放條件與處理方法
餐廳污水中的懸浮雜質分為以高分子脂類及其衍生物為主的油類和呈飯菜碎粒、不溶性蛋白、纖維質及淀粉質態的非溶解性有機物兩類。廚房內不同作業點產生的污水有機物濃度有很大的差異。肉食洗滌水和殘菜池內的污水BOD5可達1 000mg/L以上,而一般洗菜水的BOD5含量則較低。考慮一個變化周期的水源均和,總體排放BOD5濃度約在200mg/L~300mg/L之間,COD則在300mg/L~500mg/L之間,SS約為500mg/L。而污水的綜合排放標準(GB8978-88)中要求排放水中SS<70mg/L~100mg/L,BOD5<60mg/L~80mg/L,CODCr<100mg/L~150mg/L。
由于上述營業性餐廳的廚房大多布置擁擠,可利用空間極其有限,對污水處理設備的要求極為苛刻。事實上,處理設備占地在0.5m×0.5m以內時尚可接受,達到1m×1m占地時已只限于被較大型和正規的廚房選用,大于這一占地面積的設備則難以適應于這類用戶。由于這一尺寸限制,污水在設備內的停留時間一般不能超過20min。因此,只能尋求某種高效的物理處理法,通過大幅度降低污水中的懸浮有機雜質來降低污水的有機物含量,以達到規定的排放條件。
2 離心氣浮復合過程理論
餐廳污水中的懸浮污染質可根據其物理密度上的明顯區別分為重質微粒和輕質微粒兩類。將溶氣的餐廳污水引入高速旋轉的離心場內。兩類微粒在離心力的作用下,由于其自身的密度差異在半徑方向上異向運動,利用微氣泡的釋放和吸附進一步加劇了輕質微粒表觀密度與液體密度之差異,從而加速了這類微粒的徑向運動速度。在這個系統中,污水同時經歷了離心和氣浮兩個處理過程。在這個復合過程中重質微粒和輕質微粒在離心場作用下的游移速度可分別表示如下:
|
|
式中ur——重質微粒徑向游移速度,m/min;
ux——輕質微粒徑向游移速度,m/min;
N——污水的旋轉速度,r/min;
R——污水的旋轉半徑,m;
ds——微粒粒徑,m;
αs——液體密度與重質微粒密度之比(αs<1);
αx——液體密度與輕質微粒與氣泡結合后的表觀密度之比(αx>1)。
上述關系可由圖1、圖2更為直觀地表示出來。
|
|
事實上,微粒的游移速度隨其在離心場內的位置變化而改變,因此,分別對最不利粒徑的微粒進行下述積分即可分別得到分離兩類微粒所需的時間:
|
|
式中tr——分離重質微粒所需時間,min;
tx——分離輕質微粒所需時間,min。
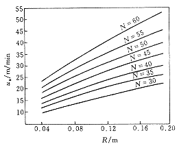
圖3、圖4分別給出了兩類微粒在R=0.2m時的分離時間t與污水旋轉速度N之關系曲線。
|
|
3 預處理裝置的設計與運行
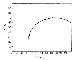
根據上述理論,設計制作了一臺餐廳污水預處理裝置。該裝置直徑0.4m,動力550W,占地僅為0.4m×0.5m。 經對不同餐廳污水取樣并進行實際運行,實測的CODCr數據匯于表1,其對應的去除效率與污水停留時間t之關系曲線繪于圖5。
表1 餐廳污水預處理裝置運行實測數據一覽表
|
注:處理效率為CODCr處理效率。餐廳污水的BOD5值約為CODCr值的0.48~0.50左右,故表中未再給出。
4 結論
根據上述理論研究及其實際設備運行結果,獲得以下結論:
(1) 餐廳污水中懸浮性有機物含量占污水全部有機物含量較大的比例,采用高效的物理處理方法通過積極地分離其懸浮性有機雜質來大幅度降低污水的有機物濃度是可能的。
(2) 圖1、圖2表明當R一定時,增加污水旋轉速度N將有利于提高處理效率,但相應的動力消耗也大幅度提高。實踐表明,實際的設備運行常常難以超過N=100r/min的水平。
(3) 圖5中的η~t曲線顯示,停留時間在15min左右時可獲得較好的處理效果。這與圖3、圖4中的t~N曲線有較好的吻合。
(4) 采用以“離心-氣浮”復合過程為主要處理工藝來對餐廳污水進行排放前預處理可以使排放水達到GB8978-88所規定的排放要求。而且因其占地小、電耗省易于被用戶接受、此外,由于排放水含有較高的溶解氧,對污水在市政管網內的進一步降解極為有利。
本文所涉課題為冶金部有償資助課題“生活污水一體化處理系統的研究與應用”。
參考文獻
1 許保玖著.當代給水與廢水處理原理.北京:清華大學出版社,1983
2 王業俊,等編譯.水處理手冊.北京:中國建筑工業出版社,1986
3 張自杰,等編譯.水處理工程理論與應用.北京:中國建筑工業出版社,1986
4 崔玉川,等.水處理工藝設計計算.北京:中國建筑工業出版社,1986 來源:谷騰水網







