申請日2014.10.15
公開(公告)日2015.01.28
IPC分類號C02F9/04
摘要
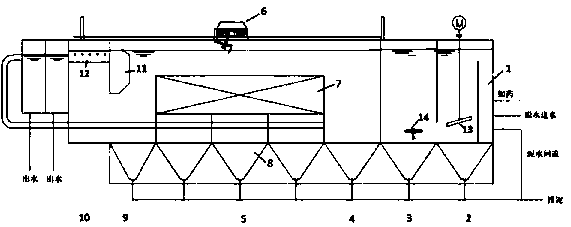
本實用新型提供一種低溫低濁水處理裝置,包括主池體,及池體內順序連接的泥水回流區、混凝反應區、氣浮接觸區、浮沉區、清水區及出水區;所述浮沉區包括上方浮渣區、下方泥水區、和設置于內部的側向斜板;所述泥水區內設排泥斗及排泥管,浮渣區內設撇油撇渣機和配套的排渣槽。本實用新型將低溫低濁水處理工藝與高藻類、高濁度水處理工藝相結合,通過應用氣浮、沉淀工藝處理,可保證出水水質。氣浮工藝運行時,對水中的藻類、色度等也具有很好的去除效果。
權利要求書
1.一種低溫低濁水處理裝置,其特征在于:包括主池體,及池體內順序連接的泥水回流 區(1)、混凝反應區(2)、氣浮接觸區(3)、浮沉區(5)、清水區(10)及出水區;所述浮 沉區(5)包括上方浮渣區(6)、下方泥水區(8)、和設置于內部的側向斜板(7);所述泥水 區(8)內設排泥斗及排泥管,浮渣區(6)內設撇油撇渣機和配套的排渣槽(11)。
2.根據權利要求1所述的一種低溫低濁水處理裝置,其特征在于:所述氣浮接觸區(3) 和浮沉區(5)之間設置有布水穩流區(4)。
3.根據權利要求1所述的一種低溫低濁水處理裝置,其特征在于:所述浮沉區(5)和 清水區(10)之間設置有出水穩流區(9)。
4.根據權利要求1所述的一種低溫低濁水處理裝置,其特征在于:所述混凝反應區(2) 內設置有混合攪拌槽,槽內設置混合攪拌機(13)。
5.根據權利要求1所述的一種低溫低濁水處理裝置,其特征在于:所述氣浮接觸區(3) 內設置有溶氣釋放器(14)。
6.根據權利要求1所述的一種低溫低濁水處理裝置,其特征在于:所述側向斜板(7) 的傾角為50°-70°。
7.根據權利要求1所述的一種低溫低濁水處理裝置,其特征在于:所述清水區(10)內 部設置有穿孔集水管,上設溢流集水槽(12)。
8.根據權利要求1所述的一種低溫低濁水處理裝置,其特征在于:所述泥水回流區(1)、 混凝反應區(2)、氣浮接觸區(3)、浮沉區(5)、清水區(10)及出水區為一體化設計。
9.根據權利要求1所述的一種低溫低濁水處理裝置,其特征在于:所述浮渣區(6)內 設置的撇油撇渣機和配套的排渣槽(11)高度可調。
說明書
一種低溫低濁水處理裝置
技術領域
本實用新型涉及低濁水處理領域,具體涉及一種低溫低濁水處理裝置。
背景技術
我國北方地區的地表水體,其水質和水溫受地理條件和季節性氣候的影響變化很大。一 年中約有4~5個月的冬季時間,水體被冰蓋封閉,此時江河水體的溫度降低到0℃~1℃, 水庫水體的溫度降低到2℃~4℃;在寒冷的季節中,水體濁度也很低:江河水體一般在 5mg/L~30mg/L,水庫水體一般在5mg/L~10mg/L,從而形成了北方地區地表水體的特點—低 溫低濁度水質。而在融冰或夏季暴雨時節,水體濁度又會大幅上升,最高甚至可以達到上千 mg/L。此外,隨著環境污染日益嚴重,水庫的富營養化程度逐年加劇,水中的藻類大量繁殖, 增加了處理的難度。
目前國內針對此類水處理的設備和技術并不完善,傳統的混凝、沉淀、過濾、消毒等處 理工藝已難以適應當前水源的水質變化,且隨著人們生活水平的不斷提高,對處理水質的要 求也越來越高,傳統工藝已不能確保飲水安全。
傳統處理工藝在處理北方地區低溫低濁水及夏季高藻類及高濁度水時存在許多問題,主 要表現為:適應于低溫低濁水處理的工藝不能達到高藻水及高濁度水的水處理要求,而傳統 的處理高藻類及高濁度水的處理工藝又不能滿足低溫低濁水的處理要求,滿足不了出水水質 的要求。
發明內容
針對現有技術存在的問題,本實用新型提供一種低溫低濁水處理裝置,將低溫低濁水處 理工藝與高藻類、高濁度水處理工藝相結合,通過應用氣浮、沉淀工藝處理,可保證出水水 質。氣浮工藝運行時,對水中的藻類、色度等也具有很好的去除效果。
本實用新型的技術方案是:一種低溫低濁水處理裝置,包括主池體,及池體內順序連接 的泥水回流區、混凝反應區、氣浮接觸區、浮沉區、清水區及出水區;所述浮沉區包括上方 浮渣區、下方泥水區、和設置于內部的側向斜板;所述泥水區內設排泥斗及排泥管,浮渣區 內設撇油撇渣機和配套的排渣槽。
進一步的,所述氣浮接觸區和浮沉區之間設置有布水穩流區,保證進入浮沉區的水流穩 定,達到更好的撇渣除污效果。
進一步的,所述浮沉區和清水區之間設置有出水穩流區。保證出水穩定。
進一步的,所述混凝反應區內設置有混合攪拌槽,槽內設置混合攪拌機。機械攪拌,攪 拌電機轉速變頻可調。
進一步的,所述氣浮接觸區內設置有溶氣釋放器,可根據不同的水質調整氣泡的大小及 調整溶氣比。
進一步的,所述側向斜板的傾角為50°-70°。沉淀效果好。
進一步的,所述清水區內部設置有穿孔集水管,上設溢流集水槽,進一步穩定出水。
進一步的,所述泥水回流區、混凝反應區、氣浮接觸區、浮沉區、清水區及出水區為一 體化設計,減少占地面積。
進一步的,所述浮渣區內設置的撇油撇渣機和配套的排渣槽高度可調。
本實用新型的有益效果是:將低溫低濁水處理工藝與高藻類、高濁度水處理工藝相結合, 通過應用氣浮、沉淀工藝處理,氣浮運行狀態時,通過浮渣區撇油撇渣,沉淀運行狀態時, 通過側向斜板和泥水區排除污泥,兼顧了氣浮和沉淀的功能和優點,是一種實用性很強的新型 凈水構筑物,該工藝既可用于沉淀池和氣浮池改造,又可用于不同規模水廠的新建。
應用本裝置處理水具有明顯的處理效果,不但對水中的濁度有很好的去除效果,而且對水 中有機物的去除也有很好的作用,可保證后續出水有機物指標的合格率,因此在北方地區具有 推廣和應用價值?杀WC出水水質。







