申請日2014.10.15
公開(公告)日2015.01.14
IPC分類號C02F9/14; C02F1/52; C02F3/00; C02F1/28; C02F1/72
摘要
本實用新型涉及污水處理設備,具體是一種污水處理綜合系統,包括絮凝處理單元、高級氧化處理單元、生物、帶支架的轉盤,該轉盤上設有轉盤中心軸;每個處理單元均設有單獨的進水管道、進氣管道、排水管道、排氣管道、出水口和出氣口;每個處理單元的排水管道通過四通閥門分別與下個處理單元的進水管道、排水管道連接,每個處理單元的排氣管道通過四通閥門分別與下個處理單元的進氣管道、排氣管道連接;每個處理單元上的出水口和出氣口分別通過四通閥門與其下方的任一處理單元連接;每個處理單元的進水管道和進氣管道上分別設有閥門。本實用新型的結構設計合理,污水處理效果明顯,可實現連續性處理,出水穩定。
權利要求書
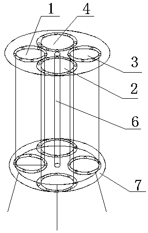
1.一種污水處理綜合系統,包括四個處理單元,分別是絮凝處理單元(1)、高級氧化處理單元(2)、生物處理單元(3)和吸附處理單元(4),其特征是:還包括帶支架的轉盤(5),該轉盤上設有轉盤中心軸(6);按照絮凝處理單元、高級氧化處理單元、生物處理單元和吸附處理單元的順序,逆時針首尾相接固定在以轉盤中心軸為圓心的圓周上;每個處理單元均設有單獨的進水管道(7)、進氣管道(8)、排水管道(9)、排氣管道(10)、出水口(100)和出氣口(101),出水口設于排水管道的排水端,出氣口設于排氣管道的排氣端;每個處理單元的排水管道通過四通閥門(102)分別與下個處理單元的進水管道、排水管道連接,每個處理單元的排氣管道通過四通閥門(102)分別與下個處理單元的進氣管道、排氣管道連接;每個處理單元上的出水口和出氣口分別通過四通閥門與其下方的任一處理單元連接;每個處理單元的進水管道和進氣管道上分別設有閥門(103)。
2.根據權利要求1所述的污水處理綜合系統,其特征是:所述的絮凝處理單元(1)為一體式集成單元,所述絮凝處理單元從下往上依次設為絮凝儲藥區(11)、絮凝反應區(12)和絮凝沉淀區(13),其中絮凝儲藥區通過絮凝加藥裝置(14)連接絮凝反應區;在絮凝反應區和絮凝沉淀區之間還設有斜沉板(15);所述絮凝沉淀區底部設排污口(16),其頂部還設有高效過濾層(17);所述絮凝處理單元的進水管道(7)、進氣管道(8)均連接至絮凝反應區;所述排水管道(9)布于高效過濾層上,并與絮凝沉淀區連接;所述出水口(100)與排水管道連通,在出水口處還設有COD在線監測儀(18);在所述絮凝反應區和絮凝沉淀區內均設有觀察窗(19)。
3.根據權利要求1所述的污水處理綜合系統,其特征是:所述的高級氧化處理單元(2)為一體式集成單元,該單元從下往上依次分為氧化儲藥區(21)、氧化反應區(22)和氧化沉淀區(23),其中氧化儲藥區分隔成PH調節劑儲藥區(211)、催化劑儲藥區(212)、氧化劑儲藥區(213),各儲藥區分別通過PH加藥裝置(24)、催化劑加藥裝置(25)、氧化劑加藥裝置(26)連接至氧化反應區;在氧化反應區和氧化沉淀區之間還設有斜沉板(15);氧化沉淀區底部設排污口(16),其頂部還設有高效過濾層(17);所述高級氧化處理單元的進水管道、進氣管道均連接至氧化反應區;所述排水管道布于高效過濾層上,并與氧化沉淀區連接;所述出水口與排水管道連通,在出水口處還設有COD在線監測儀(18);在所述的氧化反應區和氧化沉淀區內均設有PH在線監測系統(29)、觀察窗(19)。
4.根據權利要求1所述的污水處理綜合系統,其特征是:所述的生物處理單元(3)為一體式集成單元,在該單元的最底端設有無機鹽類儲藥區(31);在無機鹽類儲藥區的上部設有生物處理區(32),該生物處理區內設有高效降解微生物固體填料(33)和觀察窗(19);所述的無機鹽類儲藥區通過無機鹽類加藥裝置(34)與生物處理區連通;所述生物處理區的頂部還設有高效過濾層(17);所述生物處理單元的進水管道(7)、進氣管道(8)均連接至生物處理區;所述排水管道(9)布于高效過濾層之上;所述出水口(100)與排水管道連通,在出水口處還設有COD在線監測儀(18)。
5.根據權利要求1所述的污水處理綜合系統,其特征是:所述的吸附處理單元(4)為一體式集成單元,該單元內設有吸附處理區(41),吸附處理區內設置可拆卸的高效過濾柱(42)、觀察窗(19)和換料門(43),吸附處理區的頂部還設有高效過濾層(17);所述吸附處理單元的進水管道(7)進氣管道(8)均連接至吸附處理區;所述排水管道(9)布于高效過濾層之上;所述出水口(100)與排水管道連通,在出水口處還設有COD在線監測儀(18)。
說明書
一種污水處理綜合系統
技術領域
本實用新型涉及一種污水處理設備,具體是一種污水處理綜合系統。
背景技術
在采油采氣的工業過程中會產生大量的有機廢水,而有機廢水中的含油量大,一直是廢水處理中的重點和難點,在廢水處理中常以COD值為主要指標評價其處理效果的好壞,經過多年的發展,目前得到了良好的進展,關于廢水的處理已經達到一個相當的水平。
目前,污水處理一般包括絮凝、氧化、生物、吸附等工藝工序,現有各工序的處理設備的種類繁多,一整套完整的處理設備的結構復雜,總體占地面積大,而且不能以最簡單的方法實現在一個系統組合中多種處理工藝的選擇搭配使用,大多數設備都是利用多個容器臨時拼湊而成,增加了占地面積不說,并且為管理帶來很大難度;對于綜合型的污水處理設備的能耗較大,運行費用較高,且各工序的使用也不靈活。
發明內容
本實用新型的目的是針對背景技術中的缺陷,提供了一種污水處理綜合系統,該綜合系統集成了多個一體式的處理單元,可實現每個單元單獨或串聯使用的任意組合,操作簡單、實用,占地面積小。
為了解決上述技術問題,本實用新型所采用的技術方案是:一種污水處理綜合系統,包括四個處理單元,分別是絮凝處理單元、高級氧化處理單元、生物處理單元和吸附處理單元,其特征在于,還包括帶支架的轉盤,該轉盤上設有轉盤中心軸;按照絮凝處理單元、高級氧化處理單元、生物處理單元和吸附處理單元的順序,逆時針首尾相接固定在以轉盤中心軸為圓心的圓周上;每個處理單元均設有單獨的進水管道、進氣管道、排水管道、排氣管道、出水口和出氣口;每個處理單元的排水管道通過四通閥門分別與下個處理單元的進水管道、排水管道連接,每個處理單元的排氣管道通過四通閥門分別與下個處理單元的進氣管道、排氣管道連接;每個處理單元上的出水口和出氣口分別通過四通閥門與其下方的任一處理單元連接;每個處理單元的進水管道和進氣管道上分別設有閥門。
上述的絮凝處理單元為一體式集成單元,所述絮凝處理單元從下往上依次設為絮凝儲藥區、絮凝反應區和絮凝沉淀區,其中絮凝儲藥區通過絮凝加藥裝置連接絮凝反應區;在絮凝反應區和絮凝沉淀區之間還設有斜沉板;所述絮凝沉淀區底部設排污口,其頂部還設有高效過濾層;所述絮凝處理單元的進水管道、進氣管道均連接至絮凝反應區;所述排水管道布于高效過濾層上,并與絮凝沉淀區連接;所述出水口與排水管道連通,在出水口處還設有COD在線監測儀。進一步優選的是,在所述絮凝反應區和絮凝沉淀區內均設有觀察窗。
上述高級氧化處理單元為一體式集成單元,該單元從下往上依次分為氧化儲藥區、氧化反應區和氧化沉淀區,其中氧化儲藥區分隔成PH調節劑儲藥區、催化劑儲藥區、氧化劑儲藥區,各儲藥區分別通過PH加藥裝置、催化劑加藥裝置、氧化劑加藥裝置連接至氧化反應區;在氧化反應區和氧化沉淀區之間還設有斜沉板;氧化沉淀區底部設排污口,其頂部還設有高效過濾層;所述高級氧化處理單元的進水管道、進氣管道均連接至氧化反應區;所述排水管道布于高效過濾層上,并與氧化沉淀區連接;所述出水口與排水管道連通,在出水口處還設有COD在線監測儀。進一步的設計是,在所述的氧化反應區和氧化沉淀區內均設有PH在線監測系統、觀察窗。
上述的生物處理單元為一體式集成單元,在該單元的最底端設有無機鹽類儲藥區;在無機鹽類儲藥區的上部設有生物處理區,該生物處理區內設有高效降解微生物固體填料和觀察窗;所述的無機鹽類儲藥區通過無機鹽類加藥裝置與生物處理區連通;所述生物處理區的頂部還設有高效過濾層;所述生物處理單元的進水管道、進氣管道均連接至生物處理區;所述排水管道布于高效過濾層之上;所述出水口與排水管道連通,在出水口處還設有COD在線監測儀。
上述的吸附處理單元為一體式集成單元,該單元內設有吸附處理區,吸附處理區內設置可拆卸的高效過濾柱、觀察窗和換料門,吸附處理區的頂部還設有高效過濾層;所述吸附處理單元的進水管道、進氣管道均連接至吸附處理區;所述排水管道布于高效過濾層之上;所述出水口與排水管道連通,在出水口處還設有COD在線監測儀。
本實用新型的有益效果是:該系統采用旋轉結構,可以根據不同污水的污染特性、處理要求,將任意一個處理單元作為污水處理的前端,并且不需要拆卸和添加裝置只通過閥門的開合控制,可對剩下的處理單元進行逆時針方向的任意選擇性組合;該系統可以選用聚氯乙烯等材料制成,造價成本低,并且占地面積小,能耗低,空氣利用率高,只要選擇了其中某一種工藝組合,污水處理效果明顯,可實現連續性處理,出水穩定,特別適合山區鉆井采油采氣廢水的處理。







