申請日2015.08.19
公開(公告)日2015.11.04
IPC分類號B01D21/18; B01D21/24; B01D21/06
摘要
一種適用于皮革廢水輻流式二沉池浮泥的刮除方法及裝置,該方法是在二沉池內設置一個集渣斗,使集渣斗轉動,二沉池內的浮泥溢流進入集渣斗,將集渣斗內的浮泥輸送至一個集渣槽,將集渣槽內的浮泥排出至污泥濃縮池或者回流至生化系統以補充流失的污泥;該裝置包括進水筒、支座、導流筒、集渣斗、刮泥板、工作橋和浮渣排出管;導流筒套裝在進水筒上,導流筒外側設置有集渣槽,支座設置在進水筒上,工作橋連接在支座上,其外側的轉動輪與驅動機構連接,刮泥板通過刮泥架連接在工作橋的下方,刮泥架的上部設置有集渣斗。本發明能夠穩定有效的排出浮泥,即使有大量浮泥時,也可保證及時排出,從而保證二沉池的出水效果。
權利要求書
1.一種適用于皮革廢水輻流式二沉池浮泥的刮除方法,其特征是:
在二沉池內設置一個集渣斗,集渣斗帶有不小于1%的坡度,使集渣斗的頂部同二沉池內水面持平,或者是高出或低于水面不大于5mm,使集渣斗轉動,二沉池內的浮泥溢流進入集渣斗;因為浮泥的流動性較差,當浮泥難以溢流進入集渣斗時,適當降低集渣斗的高度,使一部分水流入集渣斗,增強浮泥流動性;將集渣斗內的浮泥通過潛污泵輸送至一個集渣槽,將集渣槽內的浮泥排出至污泥濃縮池或者回流至生化系統以補充流失的污泥;這樣既能夠及時有效的排出浮泥,當大量浮泥造成微生物流失時,也能夠補充生化系統微生物量。
2.一種適用于皮革廢水輻流式二沉池浮泥的刮除裝置,包括進水筒、支座、導流筒、集渣斗、刮泥板、工作橋和浮渣排出管;其特征是:進水筒上設有布水孔,導流筒套裝在進水筒上,導流筒外側設置有集渣槽,集渣槽的底部設置有浮渣排出管,支座設置在進水筒上;工作橋連接在支座上,其外側設置有轉動輪,轉動輪與驅動機構連接;刮泥板通過刮泥架連接在工作橋的下方,刮泥架的上部設置有集渣斗,集渣斗與集渣槽之間設置有潛污泵。
3.根據權利要求1所述的適用于皮革廢水輻流式二沉池浮泥的刮除裝置,其特征是:所述導流筒的下端與進水筒上的布水孔孔底距離不小于500mm。
4.根據權利要求1所述的適用于皮革廢水輻流式二沉池浮泥的刮除裝置,其特征是:所述集渣槽呈環形,套裝在導流筒外部。
5.根據權利要求1所述的適用于皮革廢水輻流式二沉池浮泥的刮除裝置,其特征是:所述浮渣排出管上連接浮渣排出泵。
6.根據權利要求1所述的適用于皮革廢水輻流式二沉池浮泥的刮除裝置,其特征是:所述驅動機構包括電機與減速機,減速機與電機連接,轉動輪與減速機連接。
7.根據權利要求1所述的適用于皮革廢水輻流式二沉池浮泥的刮除裝置,其特征是:所述集渣斗坡向導流筒,坡度不小于1%。
8.根據權利要求1所述的適用于皮革廢水輻流式二沉池浮泥的刮除裝置,其特征是:所述集渣斗為截面呈上寬下窄的梯形槽。
9.根據權利要求1所述的適用于皮革廢水輻流式二沉池浮泥的刮除裝置,其特征是:所述集渣斗的一端設置有沉槽。
說明書
一種適用于皮革廢水輻流式二沉池浮泥的刮除方法及裝置
技術領域
本發明涉及一種用于皮革廢水輻流式二沉池的浮泥的刮除方法和裝置,屬于刮泥除渣機 技術領域。
背景技術
由于皮革廢水具有高油脂、高氨氮、富含表面活性劑的特點,在處理皮革廢水的二沉池 內,經常發生污泥上浮現象,整個池面布滿厚20-100mm的浮泥,浮泥內富含油脂,結合為一 個整體。
傳統的刮泥除渣機主要功能是一方面將輻流式二沉池池底的污泥刮至位于二沉池中心的 集泥坑,一方面將漂浮于水面上的浮渣收集至浮渣槽,被刮出的污泥及浮渣由泵輸送至污泥 處理系統。其刮渣系統比較簡單,通常由兩塊刮渣板及一個浮渣槽組成,在離心力的作用下, 浮渣被刮至浮渣槽內。當浮渣較少時,傳統的刮泥除渣機的刮渣效果可以滿足要求。對于皮 革廢水二沉池的浮泥,由于浮泥結合為一個整體,且量比較大,必須人工協助將浮泥撈至浮 渣槽內,勞動強度大,且人工撈渣過程中,擾動二沉池表面水流,影響沉淀效果,造成出水 不達標,如果不及時排出浮泥,浮泥將隨出水流失,造成出水不達標的同時,活性污泥系統 污泥量不斷減少,從而造成整個污水處理系統癱瘓。
發明內容
本發明針對處理皮革廢水輻流式二沉池內的大量浮泥無法及時排出的問題,提供一種能 夠及時排出浮泥的適用于皮革廢水輻流式二沉池浮泥的刮除方法,同時提供一種實現該方法 的裝置。
本發明的適用于皮革廢水輻流式二沉池浮泥的刮除方法,是:
在二沉池內設置一個集渣斗,集渣斗帶有不小于1%的坡度,使集渣斗的頂部同二沉池內 水面持平,或者是高出或低于水面不大于5mm,使集渣斗轉動,二沉池內的浮泥溢流進入集 渣斗;因為浮泥的流動性較差,當浮泥難以溢流進入集渣斗時,適當降低集渣斗的高度,使 一部分水流入集渣斗,增強浮泥流動性;將集渣斗內的浮泥輸送至一個集渣槽,將集渣槽內 的浮泥排出至污泥濃縮池或者回流至生化系統以補充流失的污泥;這樣既能夠及時有效的排 出浮泥,當大量浮泥造成微生物流失時,也能夠補充生化系統微生物量。
實現上述方法的適用于皮革廢水輻流式二沉池浮泥的刮除裝置,采用以下解決方案:
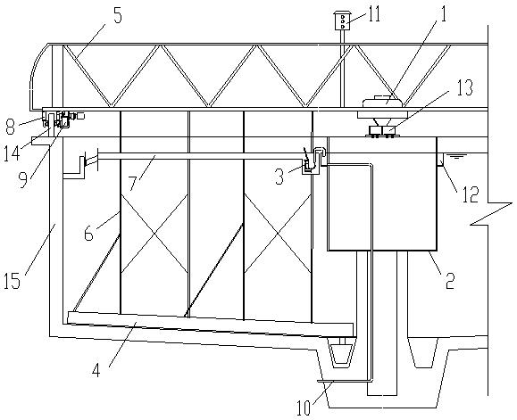
該刮除裝置,包括進水筒、支座、導流筒、集渣斗、刮泥板、工作橋和浮渣排出管;進 水筒上設有布水孔,導流筒套裝在進水筒上,導流筒外側設置有集渣槽,集渣槽的底部設置 有浮渣排出管,支座設置在進水筒上;工作橋連接在支座上,其外側設置有轉動輪,轉動輪 與驅動機構連接;刮泥板通過刮泥架連接在工作橋的下方,刮泥架的上部設置有集渣斗,集 渣斗與集渣槽之間設置有潛污泵。
所述導流筒的下端與進水筒上的布水孔孔底距離不小于500mm。
所述集渣槽呈環形,套裝在導流筒外部。
所述浮渣排出管上連接浮渣排出泵。
所述驅動機構包括電機與減速機,減速機與電機連接,轉動輪與減速機連接。
所述集渣斗坡向導流筒,坡度不小于1%。
所述集渣斗為截面呈上寬下窄的梯形槽。
所述集渣斗的一端設置有沉槽。
上述裝置應用時,將進水筒置于二沉池的中心,工作橋外側的轉動輪置于二沉池的外沿 上端面上,使導流筒的下端距離二沉池的底面不小于1000mm,集渣斗的頂部與二沉池內的水 位平齊或根據浮泥的情況高出或低于水面最多不超過5mm。集渣斗可根據浮渣情況高低調節。 通過進水筒中心進水。啟動驅動機構,通過轉動輪帶動工作橋、刮泥架、集渣斗、刮泥板一 起轉動。二沉池底面的污泥由刮泥板刮除。水面上的浮泥溢流進入集渣斗,并通過潛污泵提 升至集渣槽內,通過設置于集渣槽底部的浮渣排出管輸送出二沉池。
本發明適用于皮革廢水輻流式二沉池,能夠穩定有效的排出浮泥,即使有大量浮泥時, 也可保證及時排出,從而保證二沉池的出水效果。







