高效降解含抗生素污水的裝置,包括污水過濾裝置,污水過濾裝置連通有臭氧發生器和穩定罐,穩定罐連通有臭氧去除罐,臭氧去除罐連通有厭氧發酵罐,所述污水過濾裝置下部連通有污水入口管和淤泥出口管,淤泥出口管上安裝有排淤閥。本實用新型結構簡單,使用方便,通過設置臭氧去除罐,在污水中充入氮氣,替換和帶走在水分子間隙中的臭氧和氧氣,避免了在微生物降解步驟對微生物的傷害,提高了抗生素的降解效率,此外通過特殊結構的過濾器有效去除了污水中的污泥。
背景技術
我國是抗生素的生產和使用大國,因此具有比較嚴重的抗生素污染,這導致了環境中各種病菌抗藥性的增加。因此需要對含有抗生素的污水進行處理,現有的處理方法主要有微生物降解法、氧化法等,但是微生物降解法只適合對低濃度的抗生素污水進行降解,因為高濃度的抗生素對微生物有較大的毒害作用,而氧化法對抗生素的催化不完全,有較高的抗生素殘留度。但是微生物降解法通常是使用厭氧菌分解發酵分解抗生素,而厭氧菌對于臭氧和氧氣比較敏感,且臭氧有較強的殺菌作用,影響厭氧菌的活性。因此需要一種將兩者結合以擴大抗生素清潔裝置應用范圍及清潔效率。
實用新型內容
為解決上述問題,本實用新型提供了一種高效降解含抗生素污水的裝置,本實用新型結構簡單,使用方便,通過設置臭氧去除罐,在污水中充入氮氣,替換和帶走在水分子間隙中的臭氧和氧氣,避免了在微生物降解步驟對微生物的傷害,提高了抗生素的降解效率,此外通過特殊結構的過濾器有效去除了污水中的污泥。
為達到上述技術效果,本實用新型的技術方案是:
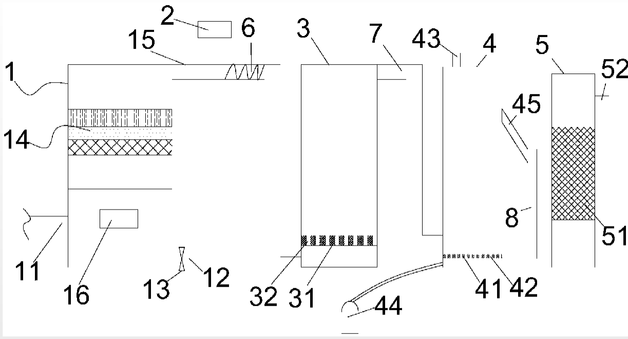
一種高效降解含抗生素污水的裝置,包括污水過濾裝置,污水過濾裝置連通有臭氧發生器和穩定罐,穩定罐連通有臭氧去除罐,臭氧去除罐連通有厭氧發酵罐,所述污水過濾裝置下部連通有污水入口管和淤泥出口管,淤泥出口管上安裝有排淤閥;所述污水過濾裝置內中部安裝有過濾層,頂部連通有出水管;出水管沿水流方向依次連通臭氧發生器和文氏混合管,文氏混合管連通穩定罐底部;穩定罐頂部通過第一連通管連通臭氧去除罐底部;臭氧去除罐中部或下部安裝有勻氣板,勻氣板上均勻分布有若干透氣孔,臭氧去除罐頂部成形有出氣口;臭氧去除罐內勻氣板的下方連通有液氮氣供應裝置;臭氧去除罐上部連通有向下傾斜的傾斜管,傾斜管通過第二連通管連通厭氧發酵罐底部,厭氧發酵罐中部安裝有蜂窩狀填料層,厭氧發酵罐上部連通有出液管。
進一步的改進,所述穩定罐內下部固定有緩沖板,緩沖板上均勻分布有若干通孔。
進一步的改進,污水過濾裝置下部安裝有淤泥觀察窗。
附圖說明
圖1為本實用新型的整體結構示意圖。
具體實施方式
以下通過具體實施方式并且結合附圖對本實用新型的技術方案作具體說明。
實施例1
如圖1所示的一種高效降解含抗生素污水的裝置,包括污水過濾裝置1,污水過濾裝置1連通有臭氧發生器2和穩定罐3,穩定罐3連通有臭氧去除罐4,臭氧去除罐4連通有厭氧發酵罐5,所述污水過濾裝置1下部連通有污水入口管11和淤泥出口管12,淤泥出口管12上安裝有排淤閥13;所述污水過濾裝置1內中部安裝有過濾層14,頂部連通有出水管15;出水管15沿水流方向依次連通臭氧發生器2和文氏混合管6,文氏混合管6連通穩定罐3底部;穩定罐3頂部通過第一連通管7連通臭氧去除罐4底部;臭氧去除罐4中部或下部安裝有勻氣板41,勻氣板41上均勻分布有若干透氣孔42,臭氧去除罐4頂部成形有出氣口43;臭氧去除罐4內勻氣板41的下方連通有液氮氣供應裝置44;臭氧去除罐4上部連通有向下傾斜的傾斜管45,傾斜管45通過第二連通管8連通厭氧發酵罐5底部,厭氧發酵罐5中部安裝有蜂窩狀填料層51,厭氧發酵罐5上部連通有出液管52。穩定罐3內下部固定有緩沖板31,緩沖板31上均勻分布有若干通孔32。污水過濾裝置1下部安裝有淤泥觀察窗16。其中,過濾層14自下到上包括紗布層、陶瓷孔過濾層和活性炭吸附層。
本實用新型使用方法如下:污水經過污水過濾裝置1過濾,其中的各種大顆粒雜質被過濾層14攔截,然后過濾后的污水被臭氧發生器2充入臭氧并且經過文氏混合管6將臭氧充分吸收混勻,然后在穩定罐3經過足夠的反應時間(通常一到三小時),將抗生素進行初步的氧化降解,然后進入臭氧去除罐4,臭氧去除罐4內通過氮氣供應裝置44如氮氣罐等充入氮氣,并通過勻氣板41均勻分散到臭氧去除罐4各處,將污水中的臭氧和氧氣等分離并自出氣口43溢出,然后進入厭氧發酵罐5經過其內附著各種厭氧微生物的蜂窩狀填料層51被充分降解分解,從而保證流出的污水達到污水排放標準。
