申請日2013.08.19
公開(公告)日2013.12.04
IPC分類號C02F1/00
摘要
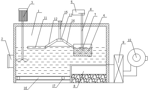
本發明公開了一種改進的高效污水處理箱,包括箱體,箱體一端開有污水進口,箱體的污水進口設有曝氣機,箱體內上部設有浮料收集裝置和雜質分離框,箱體頂部設有吸風機,吸風機通過管道插于箱體內,管道底部安裝有吸嘴盤,吸嘴盤正對雜質分離框內側,箱體底部設有輸送裝置,輸送裝置與污泥收集箱連接,污泥收集箱與烘干箱連接,烘干箱出風口與旋風分離器連接。箱體通過曝氣機處理,將難生物降解的有機物轉變為易生物降解的有機物,隨后通過浮料收集裝置收集工業生產用料、中間產物等,通過這些雜質的密度大小,實現逐步分離,效果好。
權利要求書
1.一種改進的高效污水處理箱,包括箱體,所述箱體一端開有污水進口,其特征在于:所述箱體的污水進口設有曝氣機,所述箱體內上部設有浮料收集裝置和雜質分離框,所述箱體頂部設有吸風機,所述吸風機通過管道插于箱體內,所述管道底部安裝有吸嘴盤,所述吸嘴盤正對雜質分離框內側,所述箱體底部設有輸送裝置,所述輸送裝置與污泥收集箱連接,所述污泥收集箱與烘干箱連接,所述烘干箱出風口與旋風分離器連接。
2.根據權利要求1所述的一種改進的高效污水處理箱,其特征在于:所述浮料收集裝置包括依次連接的第一橫管、第二傾斜管、第三橫管和第四傾斜管,所述第二傾斜管和第四傾斜管對稱設置,所述第三橫管與通向箱體外的排渣管連接,所述第四傾斜管末端連接至雜質分離框。
3.根據權利要求1所述的一種改進的高效污水處理箱,其特征在于:所述輸送裝置包括輸送帶和滾輪組,所述輸送帶套于滾輪組上。
說明書
一種改進的高效污水處理箱
技術領域
本發明涉及一種高效污水處理箱,尤其涉及一種改進的高效污水處理箱。
背景技術
工業廢水是指工業生產過程中產生的廢水、污水和廢液,其中含有隨水流失的工業生產用料、中間產物和產品以及生產過程中產生的污染物。工業廢水中最易沉積的是污泥,但對于雜質的有效分離,卻很難把握,如果單純的靠加濾芯、過濾網等手段,還是無法清除。因此,需要提供一種新的技術方案來解決上述問題。
發明內容
為解決上述技術問題,本發明提供一種雜質分離效果好的高效污水處理箱。
本發明采用的技術方案是:
一種改進的高效污水處理箱,包括箱體,所述箱體一端開有污水進口,所述箱體的污水進口設有曝氣機,所述箱體內上部設有浮料收集裝置和雜質分離框,所述箱體頂部設有吸風機,所述吸風機通過管道插于箱體內,所述管道底部安裝有吸嘴盤,所述吸嘴盤正對雜質分離框內側,所述箱體底部設有輸送裝置,所述輸送裝置與污泥收集箱連接,所述污泥收集箱與烘干箱連接,所述烘干箱出風口與旋風分離器連接。
所述浮料收集裝置包括依次連接的第一橫管、第二傾斜管、第三橫管和第四傾斜管,所述第二傾斜管和第四傾斜管對稱設置,所述第三橫管與通向箱體外的排渣管連接,所述第四傾斜管末端連接至雜質分離框。
所述輸送裝置包括輸送帶和滾輪組,所述輸送帶套于滾輪組上。
本發明的有益效果:箱體通過曝氣機處理,將難生物降解的有機物轉變為易生物降解的有機物,隨后通過浮料收集裝置收集工業生產用料、中間產物等,通過這些雜質的密度大小,實現逐步分離,效果好。







