申請日2016.05.04
公開(公告)日2016.10.05
IPC分類號C02F9/04
摘要
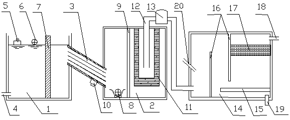
本實用新型提供了一種工業廢水凈化系統,包括預處理池、沉淀池和混凝沉淀池,所述預處理池上部與沉淀池下部通過斜管連通,所述預處理池底部設置有進水口,進水口上部設置有撈渣器,所述預處理池中部設置有過濾層,所述預處理池上部設置有氣浮機,所述沉淀池底部設置有排污泵,所述沉淀池上部設置有出水管,所述出水管連通混凝沉淀池,所述出水管上設置有加壓水泵,所述混凝沉淀池上部設置有溢流管,所述混凝沉淀池底部設置有排渣管。本實用新型可適應不同廢水物質的凈化處理,能夠實現油水分離、污泥的沉淀,以及金屬離子和懸浮雜質的去除,能夠對廢水有效治理,防止廢水污染,并且可24小時連續工作,運行穩定可靠,具有良好的市場推廣價值。
權利要求書
1.一種工業廢水凈化系統,包括預處理池和沉淀池,其特征在于:所述預處理池上部與沉淀池下部通過斜管連通,所述預處理池底部設置有進水口,所述進水口上部設置有撈渣器,所述預處理池中部設置有過濾層,所述預處理池上部設置有氣浮機,所述沉淀池底部設置有排污泵,所述沉淀池內豎直設置有穿流墻,所述穿流墻上設置有溢流孔,所述穿流墻的一側為沉積區,所述穿流墻另一側為凈化區,所述凈化區上部設置有出水管,所述出水管連通混凝沉淀池,所述出水管上設置有加壓水泵,所述混凝沉淀池上部設置有溢流管,所述混凝沉淀池底部設置有排渣管。
2.如權利要求1所述的一種工業廢水凈化系統,其特征在于:所述斜管在靠近沉淀池的一端設置有振動器。
3.如權利要求1所述的一種工業廢水凈化系統,其特征在于:凈化區內設置有磁性海泡石濾層。
4.如權利要求3所述的一種工業廢水凈化系統,其特征在于:所述磁性海泡石濾層為筒型結構,所述出水管伸到筒型結構空間內部。
5.如權利要求1所述的一種工業廢水凈化系統,其特征在于:所述混凝沉淀池與出水管連接一側豎直設置有整流板。
6.如權利要求5所述的一種工業廢水凈化系統,其特征在于:所述整流板內側設置有石英砂濾層。
7.如權利要求6所述的一種工業廢水凈化系統,其特征在于:所述石英砂濾層下部設置有沉淀板。
說明書
一種工業廢水凈化系統
技術領域
本實用新型涉及一種工業廢水凈化系統,屬于污水處理領域。
背景技術
機械加工各種金屬制品所排出的廢液和沖洗廢水,還含有各種金屬離子如鉻、鋅以及氰化物等,他們都是劇毒性的。尤其是電鍍廢水的涉及面很廣,且污染性大,是重點控制的工業廢水之一,與此同時大型工廠產品的種類多,產生的廢水的種類也很繁雜,但工廠通常只具備一套廢水處理裝置,對廢水進行簡單的過濾或消毒后就直接排放,造成了極大地環境污染,因此需要一種能夠有效處理多種工業廢水的環保裝置,以減少此類大型工廠的環境污染。
實用新型內容
為了解決以上問題,本實用新型提供了一種工業廢水凈化系統。
本實用新型的技術方案如下:一種工業廢水凈化系統,包括預處理池和沉淀池,所述預處理池上部與沉淀池下部通過斜管連通,所述預處理池底部設置有進水口,所述進水口上部設置有撈渣器,所述預處理池中部設置有過濾層,所述預處理池上部設置有氣浮機,所述沉淀池底部設置有排污泵,所述沉淀池內豎直設置有穿流墻,所述穿流墻上設置有溢流孔,所述穿流墻的一側為沉積區,所述穿流墻另一側為凈化區,所述凈化區上部設置有出水管,所述出水管連通混凝沉淀池,所述出水管上設置有加壓水泵,所述混凝沉淀池上部設置有溢流管,所述混凝沉淀池底部設置有排渣管。
本實用新型技術方案還包括:所述斜管在靠近沉淀池的一端設置有振動器。振動器使得沉淀的泥渣沿斜管滑落至沉淀池池底,集中收集進行排污。
本實用新型技術方案還包括:凈化區內設置有磁性海泡石濾層。利用磁性海泡石作為吸附劑,通過與水體中的重金屬離子進行交換反應及吸附作用去除水體中的溶解性污染物,吸附劑可重生,濾料無流失,投入成本低。
本實用新型技術方案還包括:所述磁性海泡石濾層為筒型結構,所述出水管伸到筒型結構空間內部。通過加壓水泵增加水體流動,使水體在磁性海泡石濾層外形成旋轉渦流,使水中重金屬離子及溶解性污染物與磁性海泡石充分反應及吸附,提高處理效率。
本實用新型技術方案還包括:所述混凝沉淀池與出水管連接一側豎直設置有整流板,整流板來實現控制水的流態使得水在反應池中的剪切力從大到小,使脫穩膠體形成致密的污泥礬花,從而實現對絮凝合理控制,加入混凝劑后,反應時間短,混凝沉淀池出水水質好且出水穩定。
本實用新型技術方案還包括:所述整流板內側設置有石英砂濾層,通過石英砂濾層進行二次過濾,獲得更干凈的水質。
本實用新型技術方案還包括:所述石英砂濾層下部設置有沉淀板,方便集中收集沉淀物。
本實用新型的有益效果為:本實用新型提供了多級工業廢水凈化系統,本實用新型技術方案,凈化程度高能夠有效處理多種污水,所述進水口上部設有撈渣器,撈渣器打撈廢水中的懸浮物,所述沉淀池上部設有氣浮機,氣浮機實現油水分離;所述預處理池和沉淀池通過斜管連接,使得廢水中懸浮雜質進行沉淀,泥渣在自身重力的作用下沿斜管滑落至沉淀池底,再集中收集;所述沉淀池底部設有排污泵,排污泵將集中的沉淀物排出,回收利用;所述混凝沉淀池能夠通過向水中投加一些藥劑(通常稱為混凝劑及助凝劑),使水中難以沉淀的顆粒能互相聚合而形成膠體,然后與水體中的雜質結合形成更大的絮凝體。絮凝體具有強大吸附力,不僅能吸附懸浮物,還能吸附部分細菌和溶解性物質。本實用新型可適應不同廢水物質的凈化處理,能夠實現油水分離、污泥的沉淀,以及金屬離子和懸浮雜質的去除,能夠對廢水有效治理,防止廢水污染,并且可24小時連續工作,運行穩定可靠,具有良好的市場推廣價值。



