申請日2016.05.04
公開(公告)日2016.09.07
IPC分類號C02F9/14
摘要
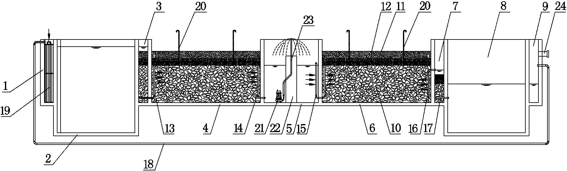
本實用新型公開了一種生活污水處理總站,它包括從左往右順次設置的格柵渠(1)、酸化調節池(2)、初濾池(3)、厭氧生物濾池(4)、充氧池(5)、好氧生物濾池(6)、終濾池(7)、植物檢測池(8)以及放流渠(9),厭氧生物濾池(4)中的濾料內填裝有厭氧生物載體,好氧生物濾池(6)中的濾料內填裝有好氧生物載體;每根長管上且沿長管的長度方向順次設置有多個小孔,放流渠(9)的側壁上還設置有達標水排放口(24),所述的格柵渠(1)與酸化調節池(2)連通;充氧池(5)內還固定安裝有充氧泵(21)和立柱(22)。本實用新型的有益效果是:利用微生物吸附降解有機物、出水品質高、能夠準確的檢測出水的水質情況。
權利要求書
1.一種生活污水處理總站,其特征在于:它包括從左往右順次設置的格柵渠(1)、酸化調節池(2)、初濾池(3)、厭氧生物濾池(4)、充氧池(5)、好氧生物濾池(6)、終濾池(7)、植物檢測池(8)以及放流渠(9),所述的酸化調節池(2)內添加有厭氧發酵菌,所述的初濾池(3)、厭氧生物濾池(4)、好氧生物濾池(6)和終濾池(7)內均設置有濾料,厭氧生物濾池(4)中的濾料內填裝有厭氧生物載體,好氧生物濾池(6)中的濾料內填裝有好氧生物載體,所述的濾料由從下往上順次設置的卵石層(10)、米石層(11)和細沙層(12)組成,所述的初濾池(3)與厭氧生物濾池(4)之間連接有排污管A(13),厭氧生物濾池(4)與充氧池(5)之間連接有排污管B(14),充氧池(5)與好氧生物濾池(6)之間連接有排污管C(15),好氧生物濾池(6)與終濾池(7)之間連接排污管D(16),終濾池(7)與植物檢測池(8)之間連接排污管E(17);
所述的排污管A(13)、排污管B(14)和排污管D(16)均為L形狀,排污管A(13)和排污管B(14)的長管均垂向設置且設置于厭氧生物濾池(4)中的卵石層(10)內,排污管D(16)的長管垂向設置且設置于好氧生物濾池(6)中的卵石層(10)內,所述的排污管C(15)為U形狀,排污管C(15)的一根長管設置于充氧池(5)內,排污管C(15)的另一根長管垂向設置且設置于好氧生物濾池(6)中的卵石層(10)內,所述的每根長管上且沿長管的長度方向順次設置有多個小孔,所述的放流渠(9)與格柵渠(1)之間連接有污水超越管(18),放流渠(9)的側壁上還設置有達標水排放口(24),所述的格柵渠(1)與酸化調節池(2)連通,格柵渠(1)內還設置有扁鋼柵條(19);
所述的充氧池(5)內還固定安裝有充氧泵(21)和立柱(22),所述的立柱(22)內設置有貫穿立柱(22)上表面的出水管(23),充氧泵(21)的出口與出水管(23)連接。
2.根據權利要求1所述的一種生活污水處理總站,其特征在于:所述的排污管E(17)為直管。
3.根據權利要求1所述的一種生活污水處理總站,其特征在于:所述的每個小孔的直徑均為8~10mm。
4.根據權利要求1所述的一種生活污水處理總站,其特征在于:所述的厭氧生物濾池(4)中的米石層(11)內以及好氧生物濾池(6)中的米石層(11)內均敷設有排氣管(20)。
說明書
一種生活污水處理總站
技術領域
本實用新型涉及生活污水處理的技術領域,特別是一種生活污水處理總站。
背景技術
目前,隨著人類文明的進步和社會經濟的發展,人類已逐步認識到環境保護對促進社會進步和經濟持續、穩定、協調發展的重要意義。環境保護工作已成為我們的一項基本國策,受到社會普遍的關注和重視。
農村科技農業快速發展的同時,加快了我國新農村建設規劃的步伐,不久的將來將會告別同村各戶“散居”的時代,取而代之的將是生活、醫療、科學、文化“軟硬”設施條件齊全同村聚居的格局。農村聚居生活不僅能夠加速基礎設施、教育的普及,還能極大地提高農村的生活水平,但是人口的高密度聚集模式必將對周圍的生態環境帶來很大的挑戰,其中污染最突出的就是人們居住生活所產生的生活污水,這嚴重阻礙著新農村發展建設的步伐。
生活污水主要是由糞便和洗滌污水組成,含有大量的有機物,如纖維素、淀粉、糖類和脂肪蛋白質等,在厭氧細菌作用下,易生惡臭物質;也常含有病原菌、病毒和寄生蟲卵;生活污水若不妥善處理,就會通過地表徑流和滲濾進入地下水層污染地下水。
實用新型內容
本實用新型的目的在于克服現有技術的缺點,提供一種結構緊湊、利用微生物吸附降解有機物、出水品質高、能夠準確的檢測出水的水質情況的生活污水處理總站。
本實用新型的目的通過以下技術方案來實現:一種生活污水處理總站,它包括從左往右順次設置的格柵渠、酸化調節池、初濾池、厭氧生物濾池、充氧池、好氧生物濾池、終濾池、植物檢測池以及放流渠,所述的酸化調節池內添加有厭氧發酵菌,所述的初濾池、厭氧生物濾池、好氧生物濾池和終濾池內均設置有濾料,厭氧生物濾池中的濾料內填裝有厭氧生物載體,好氧生物濾池中的濾料內填裝有好氧生物載體,所述的濾料由從下往上順次設置的卵石層、米石層和細沙層組成,所述的初濾池與厭氧生物濾池之間連接有排污管A,厭氧生物濾池與充氧池之間連接有排污管B,充氧池與好氧生物濾池之間連接有排污管C,好氧生物濾池與終濾池之間連接排污管D,終濾池與植物檢測池之間連接排污管E;
所述的排污管A、排污管B和排污管D均為L形狀,排污管A和排污管B的長管均垂向設置且設置于厭氧生物濾池中的卵石層內,排污管D的長管垂向設置且設置于好氧生物濾池中的卵石層內,所述的排污管C為U形狀,排污管C的一根長管設置于充氧池內,排污管C的另一根長管垂向設置且設置于好氧生物濾池中的卵石層內,所述的每根長管上且沿長管的長度方向順次設置有多個小孔,所述的放流渠與格柵渠之間連接有污水超越管,放流渠的側壁上還設置有達標水排放口,所述的格柵渠與酸化調節池連通,格柵渠內還設置有扁鋼柵條;
所述的充氧池內還固定安裝有充氧泵和立柱,所述的立柱內設置有貫穿立柱上表面的出水管,充氧泵的出口與出水管連接。
所述的排污管E為直管。
所述的每個小孔的直徑均為8~10mm。
所述的厭氧生物濾池中的米石層內以及好氧生物濾池中的米石層內均敷設有排氣管。
本實用新型具有以下優點:(1)本實用新型利用微生物吸附降解有機物,具有生態環保的特性。(2)本實用新型能夠通過在植物檢測池內栽植水生植物并通過其健康生長狀況觀察了解整個生活污水處理站的處理出水水質情況,從而更能真實反應出水水質情況,具有檢測精度高的特點。(3)當出水水質情況達不到排放標準后,則通過污水超越管重新抽入格柵渠內再次做循環處理,保證了出水水質。



